
INCH-POUND
MIL-B-18/92E
22 November 2010
SUPERSEDING
MIL-B-18/92D
21 May 1985
MILITARY SPECIFICATION SHEET
BATTERY, DRY, BA-414/U
INACTIVE FOR NEW DESIGN AFTER
11 JUNE 1999 AND IS NO LONGER USED, EXCEPT
FOR REPLACEMENT PURPOSES.
This specification is approved for use by all Departments
and Agencies of the Department of Defense.
The requirements for acquiring the product described herein
shall consist of this specification sheet and MIL-B-18.
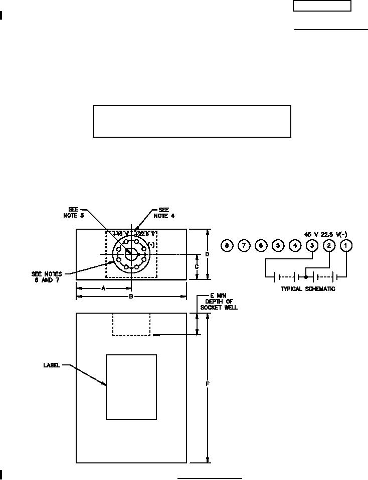
FIGURE 1. Battery dimensions.
AMSC N/A
FSC 6135